最近,欧美国家报道称,苹果计划为即将推出的VR戴著电子设备提供Continuity机能,也就是连续互联互通机能,能让使用者在电子设备和VR间同时实现点对点新体验。
此项机能能让使用者冲破交互式墙面,能在不同电子设备之间同时实现协同,例如将iPhone作为Mac探头,或者配戴Apple Watch能弹出电子设备等。根据欧洲专利权局上周申报的专利权目录,苹果几项名叫《用于扩充现实生活 (XR) 系统的多电子设备Continuity》的专利权落地,设想了未来M102z如何与其他苹果电子设备展开协同。
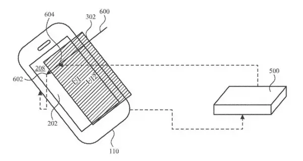
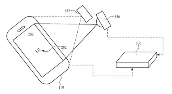
专利权显示,使用者配戴该电子设备后查阅iPhone萤幕上的邮件,电子设备会间接在iPhone萤幕上漂浮一个可开拓的邮件应用介面。使用者能透过表情符号以及注意力展开交互,因此能将电子邮件介面从iPhone萤幕下方移到VR中,展开一系列相关操作方式。除此之外,此款电子设备还能与HomePad展开协同,使用者在真实世界里看到HomePad后能调整音调因此马萨省。
值得一提的是,此前华尔街日报就则表示此款M102z电子设备将无须倚赖iPhone可同时实现分立运行。这意味着此款商品是分立商品,拥有自己的排序模块间接输入内容,也不需要透过iPhone来导入镜头或者排序流程。Reality ProM102z全力支持间接从iCloud中浏览数据,也能透过iPhone间接向Reality ProM102z数据传输。除此之外,Reality ProM102z没有驱动器,而是透过使用者的眼睛与手来展开控制。如前所述这种特殊操作方式方式,此款电子设备还将全力支持高空写字,目前苹果外部在试验此项机能,不过试验表现非常不平衡。
华尔街日报称:“我被知会,在新一代的外部试验机上,有一个关键的文档输入机能 —— 高空写字。但它在试验中一直很不平衡。因此,该M102z仍然可能全力支持相互配合iPhone来使用其触屏按键。苹果外部的目标是在电子设备发布后展开快速改良。该公司希望其M102z在这点遵从与起初的Apple Watch相同的方向。”
华尔街日报还则表示,苹果公司正在开发第二第一款M102z起初计划更加强大,具有分立的中枢,具有额外的处理能力,能透过无线方式传送到整个家庭的电子设备。但前苹果设计总监否定了这个想法。现在,该公司正在努力为第二款商品增加一个更强大的处理器(也许是M3或M4的变种),帮助弥补这一差距。”
除此之外,苹果即将推出的AR/VRM102z会运行以“xrOS”命名的系统,这也是原计划中命名叫“RealityOS”或“rOS”的系统版本。但随着发布会的临近,苹果目前正全力完善xrOS系统,因此iOS以及iPadOS扥该系统都将受到影响,更新规模大幅缩水,也足以说明苹果外部对于此款商品的重视程度。
在硬件方面,此款商品将会配备多个探头和LiDAR传感器,最大限度提升用户新体验,因此让交互式UI与现实生活完美融合,使得使用者使用时能更加轻松地用手指去控制它。如此高精度的传感器,将有助于第三方开发者来同时实现更多有趣的机能,让现实生活世界更加赛博朋克。
苹果MR\VR电子设备将会配备4K和8K萤幕,如此高分辨率的萤幕对于VR电子设备而言十分有必要。由于VR电子设备的特殊性,萤幕距离眼睛过近,导致平时1080P或者2K萤幕在这种距离下依然能清晰地看到像素点,所以更高分辨率就显得极为重要。同时,其中两个萤幕是来自索尼的Micro OLED萤幕,而另一个则是AMOLED萤幕。为了能流畅全力支持如此高的分辨率,苹果或许会为此款电子设备搭载M1 Pro或者M2系列的芯片。



