
那时,蔚来 NT2.0 网络平台第二款车 ES7 正式宣布进占国务院法制办,换言之,ES7 离交货也近在咫尺了。
只不过在 2022Q1 半年报例会上,张波谈及去年 NT2.0 网络平台会有三款车款迈入交货。当中前三款车款,ET7 早已迈入交货,而 ET5 也已然正式宣布迈入了交付,但第二款商品 ES7 却始终没太多最新消息,那时他们就来深扒呵呵 ES7 大部份曝出的重要信息,和他们的揣测。
外形篇







从带有佯装的谍照,到网友拍到的实机图,再到现在的国务院法制办图片,ES7 的外形基本没悬念,向大哥 ET7 的 X-Bar 设计看齐,延续了 Design for AD 的设计理念。
灯光方面,远近一体式头灯:⼀体式 LED ⼤灯,Double-dash ⽇⾏灯。立体的贯穿式尾灯,与日行灯前后呼应。
ET7 同款设计随处可见,比如立体贯穿式尾灯等。但有用户吐槽说,ES7 的尾灯不如 ET7 的好看,这个见仁见智了。
ES7 充电口位置与 ES6 一样,都放在了右前叶子板处,而大哥 ET7 则是放在车尾,这也是争议最大的地方。

另外,轮眉处的侧视摄像头,也正式宣布得到确认了。虽然看起来这样的设计更加一体化,但有用户认为,擦碰和脏污的风险也增大了。而头顶车外凸的犄角,也说明 ES7 与 ET7、ET5 的辅助驾驶硬件一样:
1 颗超远距激光雷达;7 颗 800 万像素高清摄像头;4 颗索尼 300 万像素环视摄像头;4 颗 Orin X ADAS 芯片,总算力 1,016 TOPS。尺寸篇

尺寸上,ES7 卡位在 ES6(EC6)和 ES8 之间,是一款大 5 座车款。相比于 ES6,ES7 的车长长出 6.2 cm,而轴距长出 6 cm,这也就是说,ES7 的加长,大部分给到了座舱。假如这部分增长的空间,全部放在这台大五座车的后排,那体验叫人期待,原因有二:

ET7 后排
他们此前试驾 ET7 的时候,发现由于电池模组高度恒定(140 mm),需要兼容大部份规格一致的换电电池,所以 ET7 的地台有些偏高,虽然 ET7 早已从车高(1,509 mm)上尽量找回,但后排的垂直空间体验并不极致,这点在 ES7 上应该会有改善;另外,还是参考 ES7 的后排座椅配置,有通风、加热、按摩,而这些功能,推测在 ES7 上不会缺席。动力 + 续航

关于动力系统方面,从申报公告的参数来看,蔚来 ES7 采用前后双电机四驱布局,驱动电机由蔚来自主研发的蔚然动力提供,搭配碳化硅技术。
电机最大功率前 180 kW,后 300 kW,系统总功率为 480 kW,总扭矩达到了 850 N·m。而这一套动力系统与蔚来 ET7车款一致,官方透露,这款车的加速会进入 3 秒俱乐部,而蔚来 ET7 的零百加速成绩为 3.8 秒,那 ES7 应该在 3.9 秒左右,而这将是蔚来加速最快的 SUV。
对驾驶极为有利的就是车重,ES7 的体重控制得也很好,尺寸比 ET7(2,349/2,379 kg)和 ES6(2,290 kg)更大,但重量控制在了 2.3 吨多,这就是全铝车身的功劳了。
目前蔚来 75 kWh 的三元铁锂电池、100 kWh 的三元锂电池,在 ET7 上分别对应 CLTC 工况 530 km 和 675 km。我推测,同一套动力下,ES7 会普遍低 50 km 左右,也就是 480 km 和 620 km。

同时,国务院法制办还进一步曝出了其它重要信息:
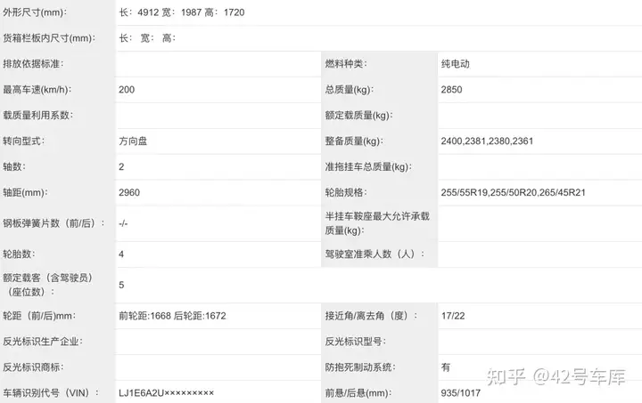
ES7 的最高车速 200 km/h;接近角/离去角 17/22,前/后悬 936/1,017 mm;轮胎规格 255/50 R20、265/45 R21。内饰篇
内饰方面,虽然目前还没任何泄漏图出现,但完全可以参考 NT2.0 网络平台的 ET5 和 ET7。

ET7 内饰

ET5 内饰

ET7 7.1.4 沉浸声系统
而考虑到 ET5 定位低于 ES7 都已然标配了一大堆特色配置,所以 ES7 应该也会搭载相关配置:
8155 座舱芯片AMOLED 高分辨率中控屏23 喇叭杜比全景声音响7.1.4 沉浸声系统空气悬挂电吸门座椅按摩VR眼镜售价推测
最后,他们来猜呵呵 ES7 的售价吧。
ES7 定位介于 ES6(EC6)和 ES8 之间,但是 NT2.0 的车款很多配置都全系标配了,比如小老弟 ET5,所以 ES7 的起售价不会低,有可能接近 ES8(47.8 万起)。
考虑到,同样作为「7」字辈儿的 ET7,起售价在 44.8 万元,而通常 SUV 的价格会更高一些,所以他们推测 ES7 的正式宣布售价,会在 45-50 万元。
对于蔚来的潜在用户来说,有两种情况,可以考虑 ES7:
假如你考虑 EC6/ES6 顶配,也就是性能版 + NP 全配包,再随便加点选装的话,车辆售价早已在 45 万左右了,这个时候选择更大的 ES7,还标配了 NAD 的硬件;或者是本来预算就是在 50 万左右,看准了 ES8 又发现 3 排的 6/7 座不是硬性需求,那么可以考虑等呵呵这款大 5 座的新车了。
蔚来只不过多次提到,ES7 的主要竞争对手是燃油车——华晨宝马X5。确实对于 50 万价位的纯电中大型 SUV,似乎除了 ES7 就是个头稍大的自家的 ES8 了。
而最近最新消息火热的理想 L9,早已来到了大型 SUV 的尺寸,而且 L9 是妥妥的三排布局,所以两者应该只有极少部分用户重叠,竞争关系并不大。
所以,他们特意找出了 ES7 对标的几款燃油车款,进行了对比。可以看到 ES7 在尺寸上确实不占优势,但在动力上完全吊打这些车款,甚至是它们的运动版。而 ES7 的优势,还在于刚才他们提到的种种越级配置。
作为 NT2.0 网络平台的产物,ES7 与 ET7、ET5 一样,肩负着出海的重任。而假如他们按照 50 万的推测价格,类比到欧洲、北美市场,那么他们就可以看到对标的车款,甚至上升到了国内售价 92.3 万起的保时捷卡宴。
据说,与 ES7 一起正式宣布亮相的车款,还包含了改款的 866。这让我感叹,去年蔚来的商品,就像下饺子。
